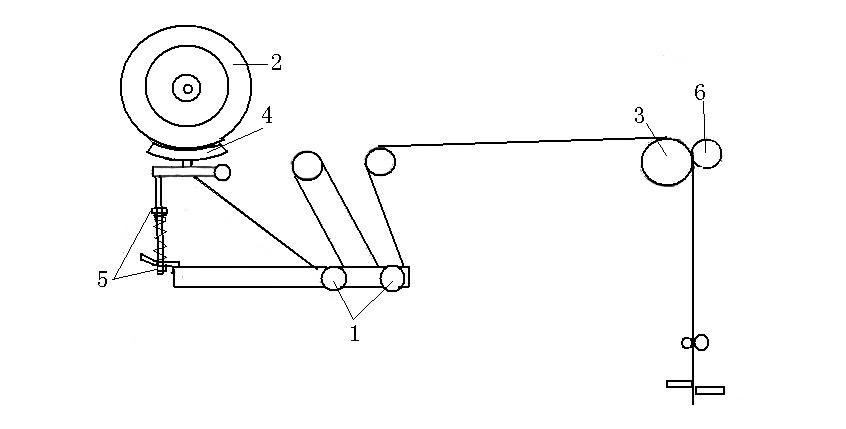
薄膜卷內芯孔從60從80mm都能上三維包裝機,在安裝的位置上,錐體是利用一螺釘固定在軸上,起卡住薄膜筒的定位作用。錐體(2)固定薄膜卷。

圖4.9

三維包裝機薄膜的安裝
從機器下面抬起滾筒軸,再抬離后面的支撐點,拿下滾筒軸,由軸上取下錐體(2),將薄膜卷裝上滾筒軸,用錐體(2)將薄膜卷鎖緊,上機。
注意:薄膜滾筒軸凹槽(4)應對上軸承(3)然后檢查紙筒是否安裝在合適位置。并進行。

三維包裝機薄膜引入
薄膜穿入機器如圖所示,當穿入薄膜前機器須處于原始位置,且電機處于關閉位置。從支撐點上抬起橡膠棍,把薄膜引入送膜鋼棍(3)和橡膠棍(6)之間,在進給方向移動杠桿完成。此后,可用手動模式點動下膜開關使薄膜穿入機器。


客服1